想了解設備資料?報價?售后?請留言,速回電
廠家直銷,留言立享本月優惠價免費提供環保政策、辦廠手續、投資預算等資料
在振動篩的篩分過程中,粉塵的治理是一個比較重要的問題。在振動篩的結構中,粉塵收集裝置的功能是降低篩子的粉塵量。但在其工作過程中,往往由于裝置密封性能不良,影響除塵效果。針對這一問題,可采取哪些措施以提高粉塵收集裝置呢?
由于振動篩工作時整個篩箱是振動的,其集塵罩內為負壓,運行過程中濾布被篩箱內部負壓所吸,導致出現如下問題:振動篩篩箱上部兩邊的濾布和4個振動箱吊耳相互摩擦;由于礦石進入料漏斗時落下并彈起,導致振動篩篩箱上的濾布和礦石摩擦。由此出現濾布磨損的問題,當漏風量達到一定量時,影響除塵效果。
(1).jpg)
1)將振動篩篩箱上部兩邊的4個振動箱吊耳割除,并打磨光滑。
2)振動篩篩箱上后部加一快廢舊膠帶,以擋住彈起的礦石,使礦石不直接磨損濾布。膠帶長度以剛好蓋住濾布為準,如果膠帶太長,濾布和膠帶中間易擠入礦石摩擦濾布。
3)振動篩篩箱下后部距下沿65 mm處加l500mm×150 mm×6 mm的擋板一塊,篩箱下前部兩邊對稱加一塊擋板1(見圖1),擋住下落的礦石,以使礦石不碰到密封濾布。
.jpg)

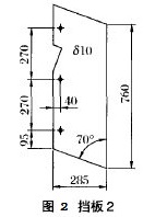
4)將振動篩篩箱前部上層出料斗拆除。因上、下層篩中礦石都進入同一漏斗到圓錐破碎機,兩邊各加一塊擋板2(見圖2),擋住彈起的礦石,使礦石不碰到密封濾布。
改進后濾布結構如圖3。
.jpg)
粉塵收集裝置經上述改進后,可使濾布不直接接觸礦石,從而延長了濾布的使用壽命。經實際運行,改進后的粉塵收集裝置具有良好的密封效果,除塵效果較好,達到了粉塵排放的標準和要求。
想了解設備資料?報價?售后?請留言,速回電
廠家直銷,留言立享本月優惠價免費提供環保政策、辦廠手續、投資預算等資料
3分鐘前 高先生:時產200噸制砂機報個價,處理鵝卵石
8分鐘前 李先生:移動式破碎機怎么解決粉塵問題?
13分鐘前 徐女士:需要制砂機,南寧能看制砂現場嗎?
16分鐘前 程先生:破碎生產線出個方案及報價,有什么售后服務?
22分鐘前 鄭女士:想了解時產500噸錘破,加工石灰石
31分鐘前 吳先生:成套石頭破碎設備有嗎?給個詳細產品資料
36分鐘前 羅先生:每小時100噸左右的鄂破和反擊破,推薦下型號
42分鐘前 梁先生:膨潤土磨到200目,用什么磨粉設備?
提交留言我們會第一時間回復您!
某水泥廠礦渣烘干設備采用回轉式烘干機,該機產量較低,尤其是隨著后期礦渣摻加量的增加,該機更是顯得力不從心,原設計的產量完全不能滿足水泥磨生產。為提高烘干機產量,該水泥廠對影響產量的原因進行了深入分析,并采取了一系列改造措施,效果顯著。
2016-01-16在球磨機設備中,傳動裝置是非常重要的組成部分,無論是質量、體積或成本因素,都對球磨機的正常工作有著很大的影響。在實際應用中,傳動裝置很容易受到各種因素的影響,進而失去效用,影響球磨機的正常使用。
2015-05-28振動篩是用于物料分離和分級的設備。隨著煤炭企業的發展和科學技術的進步,該設備已經運用到了很多的領域。振動篩結構簡單、工作效率高,成為主要的篩分設備,采煤過程中合理的運用振動篩,使其成為采煤工作不可缺少的一部分。
2015-01-23密封裝置是烘干機不可缺少的重要組成部分,是衡量設備性能好壞的重要指標。烘干機密封裝置的關鍵性作用主要表現在以下三個方面:如果進氣端漏入過量冷空氣,會降低熱氣溫度,影響熱工效率;如果出氣端漏入大量冷空氣,則有可能使廢氣降溫到露點而結露,影響除塵設備的正常工作;同時,因操作中經常出現倒風現象,如果沒有密封裝置,會逸出大量粉塵,污染車間環境。
2014-08-04煤泥烘干機是由熱源、打散裝置、帶式上料機、進料機、回轉滾筒、帶式出料機、引風機、卸料器、清掃裝置和配電柜構成的新型專用干燥設備,是河南紅星烘干濕物料的烘干設備系列產品之一。在煤泥烘干機的一系列裝置中,清掃裝置有什么重要作用呢?
2014-07-10O—Sepa選粉機在水泥生產中的應用非常廣。在其使用過程中,選粉機撒料盤上的立筋易被磨損,撒料效果差,無法形成均勻的料幕,從而使細粉不能有效地選出,選粉機選粉效率較低。為此,可對選粉機進行改造。
2014-03-24